Google-Brille 2.0? Neue Patente enthüllen spannende Pläne!

Google Smart Glasses Patent Header
Quelle: AndroidHeadlines

Hallo Du, um keine News zu verpassen abonniere doch einfach kostenlos meine Kanäle, vielen Dank:

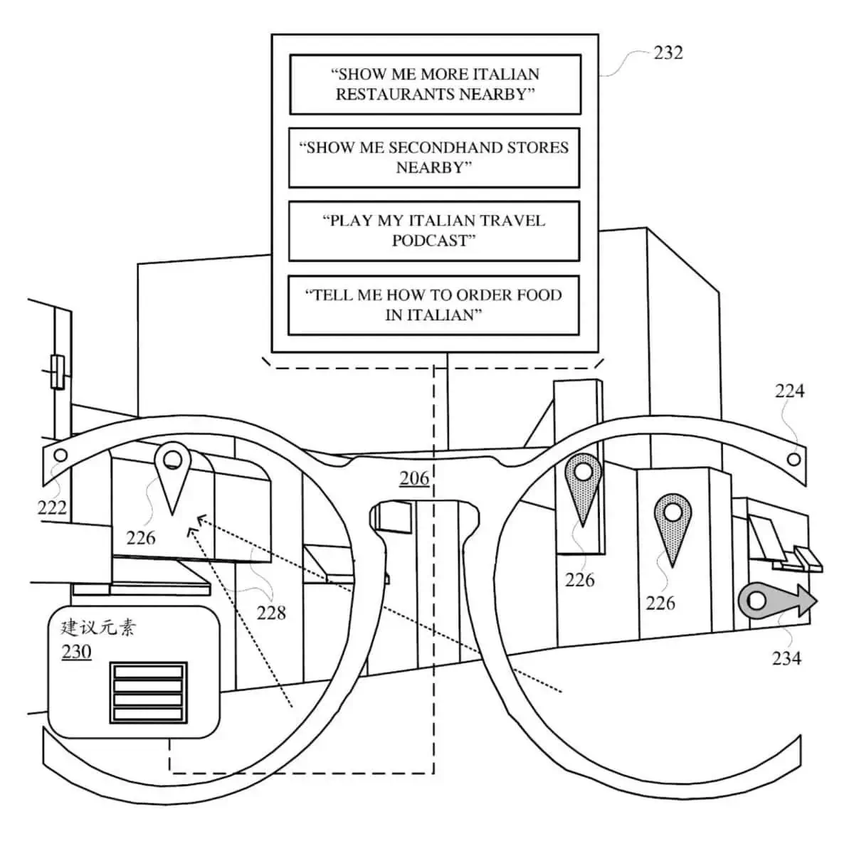
Erinnerst du dich an Google Glass? Das futuristische Brillen-Projekt, das vor einigen Jahren für viel Aufsehen sorgte, aber dann scheinbar wieder in der Versenkung verschwand? Nun, es könnte sein, dass Google die Idee einer intelligenten Brille noch nicht ganz aufgegeben hat! Neue Patente deuten darauf hin, dass das Unternehmen an einer neuen Generation von Smart Glasses arbeitet.

Die neue Google-Brille soll smarter und vielseitiger werden. Hier sind ein paar der spannendsten Features, die in den Patentanmeldungen auftauchen:

  • Smartphone als Gehirn: Im Gegensatz zur ersten Generation soll die neue Brille nicht alle Berechnungen selbst durchführen, sondern auf die Rechenleistung deines Smartphones zurückgreifen.
  • Mehr als nur eine Brille: Die Brille soll mit deiner Umgebung interagieren können. Du kannst sie per Berührung, Sprache oder sogar mit deinen Augen steuern.
  • Immer dabei: Die Brille soll so leicht und komfortabel sein, dass du sie den ganzen Tag tragen kannst.

Noch ist unklar, ob Google die neue Brille selbst auf den Markt bringen wird oder ob andere Hersteller die Technologie nutzen sollen.

Samsung arbeitet ebenfalls an einer eigenen Smart Glass und könnte schon im Januar 2025 die erste Version vorstellen.

Quelle(n):
AndroidHeadlines


Links mit einem * sind Partner-Links. Durch einen Klick darauf gelangt ihr direkt zum Anbieter. Solltet ihr euch dort für einen Kauf entscheiden, erhalte ich eine kleine Provision. Für euch ändert sich am Preis nichts. Danke für eure Unterstützung!

Schreibe einen Kommentar

Deine E-Mail-Adresse wird nicht veröffentlicht. Erforderliche Felder sind mit * markiert