Samsung Galaxy S11: 5-fach Zoomkamera kommt mit optischer Bildstabilisierung
Hallo Du, um keine News zu verpassen abonniere doch einfach kostenlos meine Kanäle, vielen Dank:
Beim Samsung Galaxy S11 wird es eine Reihe von Kamera-Verbesserungen geben. Das Flaggschiff wird voraussichtlich das erste Smartphone von Samsung sein, das über einen 5-fachen optischen Zoom verfügt.
Das bestehende konventionelle 2-fach Zoomobjektiv von Samsung verfügt über eine optische Bildstabilisierung bzw. OIS. Natürlich fragen sich viele, ob die für die Samsung Galaxy S11 erwartete 5-fach Zoomkamera diese auch haben wird.
Samsung’s neue Telefotolösung wird sich grundlegend von dem unterscheiden, was derzeit verwendet wird. Das Flaggschiff wird voraussichtlich mit einem Periskop-Kameramodul ausgestattet sein.
Samsung Electro-Mechanics stellt seit 2003 Kameramodule her. Vor kurzem wurde die Serienproduktion einer 5-fach Zoomkamera angekündigt. Was das Unternehmen damals nicht gesagt hat ist, ob es auch OIS unterstützt.
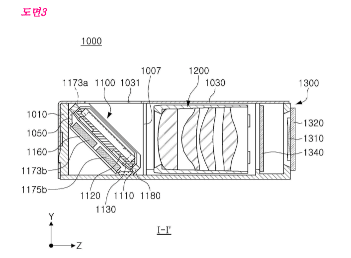
Jedoch wurde nun eine Patentanmeldung entdeckt, die Samsung Electro-Mechanics diese Woche beim Koreanischen Amt für geistiges Eigentum eingereicht hat. Das Patent bezieht sich auf ein Periskop-Kameramodul mit optischer Bildstabilisierung.
der Antrag verrät einige Details darüber, wie das OIS-Modul in der Periskopkamera funktionieren würde, um Bewegungsunschärfen zu reduzieren.
Mit Gerüchten wie „Hubble“ als Codename für die Samsung Galaxy S11 Kamera gibt es hohe Erwartungen an das 2020er Flaggschiff. Daher kann nicht ausgeschlossen werden, dass dieses Patent die Kamera des Samsung Galaxy S11 beschreibt.
Alles zum Samsung Galaxy S11
- Samsung Galaxy S11/S20-Reihe: Software verrät neue Kamerafunktionen
- Samsung Galaxy S11-Reihe und Galaxy Fold 2: Neues Release-Datum macht die Runde
- Samsung Galaxy S11- aka Galaxy S20-Reihe: Erster Größenvergleich der Modelle
- Kommt gar keine Samsung Galaxy S11-Reihe?
- Samsung Galaxy S11-Reihe bekommt ultra-dünne Displayränder
Links mit einem * sind Partner-Links. Durch einen Klick darauf gelangt ihr direkt zum Anbieter. Solltet ihr euch dort für einen Kauf entscheiden, erhalte ich eine kleine Provision. Für euch ändert sich am Preis nichts. Danke für eure Unterstützung!




